Чистая вырубка, пробивка и отрезка
Обычная вырубка и пробивка листового материала дают неровную, слегка криволинейную и шероховатую поверхность среза (см. рис.3, а). В ряде случаев изготовления штампованных деталей повышенной точности (4,3 и 2-го класса) требуется гладкая и перпендикулярная поверхность среза с шероховатостью поверхности до 8-го класса по ГОСТ 2789—73. Зачастую это достигается последующей доработкой на фрезерных, шлифовальных и доводочных станках, что малопроизводительно и дорого. В этом случае более эффективно применять способы чистовой вырубки и пробивки, имеющие значительные преимущества по сравнению с механической обработкой резанием и дающие гладкую полированную поверхность среза, перпендикулярную к плоскости изделия, при повышенной точности изготовления.
![]() Рис.17. Способ создания высокого давления при чистовой вырубке |
Сущность способов чистовой вырубки заключается в создании высокого давления на заготовку и изменении схемы напряженного состояния металла в зоне резания.
В результате весьма высокого поверхностного давления на заготовку в зоне резания возникает напряженное состояние объемного сжатия, которое способствует устойчивости пластической деформации и пластическому течению металла. Вследствие этого в процессе вырубки скалывающие трещины не возникают, а срез получается чистым по всей толщине заготовки. Этот способ применяется для изготовления деталей точного приборостроения толщиной от 1,5 до 15 мм. Шероховатость поверхности среза соответствует 8-му классу по ГОСТ 2789—73.
![]() Рис.18. Форма клиновых ребер |
На рис.17 приведен наиболее распространенный способ чистовой вырубки с поперечной осадкой заготовки. В этом способе применен метод местного вдавливания прижима 2, снабженного клиновым ребром, идущим вдоль наружной конфигурации пуансона. При вдавливании ребра происходит вытеснение металла заготовки к режущим кромкам и создание интенсивного гидростатического давления в зоне резания. Опускающийся вслед за этим вырубной пуансон 1 вырезает деталь с гладкой и перпендикулярной поверхностью среза, соответствующей 8-9-му классу шероховатости поверхности по ГОСТ 2789—73.
Величина одностороннего зазора берется в пределах 0,005—0,01 мм. Режущие грани матрицы притуплены или закруглены радиусом r — 0,1/0,2 мм.
На рис.18 приведена форма клиновых ребер двух типов: а — изготовленных фрезерованием и применяемых для материалов толщиной до 4 мм и б — изготовленных электроискровым способом и применяемых для материалов толщиной свыше 4 мм.
Высота клина и расстояние до его вершины зависят от толщины материала и приведены в табл.10 [194].
| Для листов тольщиной до 4 мм (рис. 18,а) | Для листов толщиной свыше 4 мм (рис.18,б) | ||||||
| S, мм | a | h | b | S, мм | a | h | b |
| 0,5 | 0,5 | 0,2 | 0,25 | 4,5 | 3,2 | 0,5 | 0,55 |
| 1 | 0,7 | 0,3 | 0,35 | 5 | 3,7 | 0,55 | 0,6 |
| 2 | 1,4 | 0,4 | 0,45 | 6 | 4,2 | 0,6 | 0,65 |
| 3 | 2,1 | 0,45 | 0,5 | 8 | 5 | 0,7 | 0,75 |
| 4 | 2,8 | 0,5 | 0,55 | 10 | 6 | 0,75 | 0,9 |
![]() Рис.19. Типы деталей изготавливаемых чистовой вырубкой |
Для материалов толщиной до 4 мм клиновое ребро делается только на прижиме, а для материалов толщиной свыше 4 мм — с обеих сторон: и на прижиме, и на матрице, причем рекомендуется у одного из ребер расстояние b сместить на 0,2—0,3 мм.
Типы деталей, изготовляемых чистовой вырубкой, обычно отличаются весьма сложной формой контура (рис.19). Изготовлять клиновые ребра такой же конфигураций было бы весьма сложно и не всегда нужно. На рис.20 приведены способы упрощения контура клиновых ребер для деталей различных очертаний. При этом соблюдается следующее правило: если ширина или впадина на детали меньше (3/4) S, то клиновое ребро обходит их; если ширина паза больше 4S, то клиновое ребро входит внутрь паза.
![]() Рис.20. Способы упрощения контура клинового ребра |
Чистовую вырубку обычно выполняют на гидравлических или механогидравлических прессах тройного действия.
Схема последовательности чистовой вырубки приведена на рис.21.
1. Нижний стол и иижняя часть штампа 2 и 3 движутся вверх, поднимают полосу и прижимают ее к матрице 4, клиновые ребра вдавливаются в полосу; выталкиватель 1 прижимает полосу к пуансону 2 (рис.21,а).
2. Пуансон движется вверх и врезается в металл. Нижний стол неподвижен. Давление прижима и противодавление выталкивателя сохраняются (рис.21,б).
3. Вырубка детали окончена, давление пуансона и противодавление выталкивателя выключаются. Нижний стол находится в верхнем положении (рис.21,в).
4. Нижний стол опускается вниз и раскрывает штамп, пуансон опускается вниз, полоса снимается с пуансона и остается на прижиме (ряс.21,).
5. Происходит подача освободившейся полосы, выталкиватель удаляет деталь из матрицы (рис.21,д).
6. Подача полосы и удаление детали из штампа закончены. Нижиий стол находится в исходном положении. Начинается новый ход пресса (рис.21, е).
![]() Рис.21. Последовательность чистовой вырубки |
![]() Рис.22. Основные типы штампов для чистовой вырубки |
Все механизмы пресса работают автоматически.
Для чистовой вырубки применяют один из двух типов штампов: с подвижным пуансоном (рис.22,а) или с неподвижным пуансоном (рис.22,б). Матричная сторона штампов обычно одинакова. Первый тип применяется преимущественно при вырубке небольших деталей, а второй — для более крупных деталей. Глубина захода пуансона в матрицу допускается не более 0,1 мм.
Основная трудность при изготовлении штампов для чистовой вырубки заключается в получении равномерного по контуру почти нулевого зазора. Имеются различные указания по величине зазора при чистовой вырубке: рид швейцарских фирм («Есса») рекомендуют зазоры независимо от толщины материала в пределах 0,005-0,01 мм на сторону. Фирма «Аида» [193] и др. рекомендуют зазоры для тонкого материала 0,005-0,6075 мм, а для толстого материала 0,01-0,02 мм. Фирма «Файнтул» рекомендует дифференцированное значение зазоров в зависимости от толщины материала, как показано в табл.11 [194],
| Толщина материала, мм | Наружный контур | Внутренний контур | ||
| d < S | d = S | d > 5S | ||
| 1 | 1% | 2,5 | 2 | 1 |
| 2 3 4 6 10 15 | 2,5 2,0 1,7 1,7 1,5 1,0 | 1 2 0,75 0,5 0,5 0,5 | 0,5% | |
Очевидно, это объясняется тем, что во время чистовой вырубки неизбежны упругие и тепловые деформации рабочих частей штампа, вследствие чего зазор может уменьшиться до нуля.
В результате закругления режущей кромки матрицы детали, полученные чистовой вырубкой, имеют небольшой грат со стороны, примыкавшей к пуансону. Удаление грата производится у крупных деталей на специальном лентошлифовальном станке, а у мелких деталей — на вибрационной установке с влажным абразивом. Чистовой вырубкой изготовляют не только плоские, но и изогнутые детали (рис.23).
На рис. 23,а приведены схемы чистовой вырубки с одновременным изгибом, применяемой для деталей небольшой толщины; на рис.23,6 показана чистовая вырубка толстых деталей в предварительно изогнутой или профилированной заготовке. Недостатком первой схемы является заход части режущей кромки пуансона в матрицу на величину скоса. У второй схемы, этого недостатка нет.

Рис.23. Изогнутые детали, получаемые чистовой вырубкой;
а - из плоской заготовки; б - из изогнутой заготовки
![]() Рис.24. Схема к диаграммам на рис.25 и 26 |
Чистовой вырубкой изготовляются также детали с различной толщиной отдельных элементов, получаемые расплющиванием, осадкой и чеканкой.
Клиновые ребра увеличивают расход материала, так как перемычки между деталями и боковые перемычки при чистовой вырубке несколько больше, чем при обычной вырубке, и составляют от 1,5 до 2 толщин материала.
Для получения качественных деталей при чистовой вырубке должны соблюдаться определенные требовании по наименьшему расстоянию отверстий или пазов от края детали, а также минимальные диаметры пробиваемых отверстий (рис.24).
![]() Рис.25. Диаграммы для определения минимального расстояния (а) и диаметра отверстия (б). |
![]() Рис.26. Диаграммы для определения минимальной ширины шлица (а) и расстояния до края детали (б) |
На рис.25,а приведена диаграмма [194] зависимости минимального расстояния до края от толщины детали. Пример на рисунке: 5 — 4 мм, минимальное расстояние до края по диаграмме a/S = 0,62, откуда а = 2,5 мм.
На рис. 25,б приведены значения минимальных диаметров отверстия в зависимости от толщины материала. Пример на рисунке: S = 6 мм, минимальный относительный диаметр по диаграмме S = 0,67, откуда d = 4 мм.
На рис. 26,а приведена зависимость минимальной ширины шлица от его длины и толщины материала. Пример на рисунке: 5 — 10 мм; 1 — 70 мм, минимальная от носительная ширина по диаграмме b/S = 0,86; b = 8,6 мм.
На рис. 26,б приведена диаграмма значения наименьшего расстояния от шлица до края детали в зависимости от его длины и толщины материала. Пример на рисунке: S = 2,5 мм, l = 15 мм, минимальное расстояние по диаграмме δ/S = 0,97, откуда δ = 2,4 мм.
Усилие, требуемое для чистовой вырубки, составляет от 1,5 до 3,0 расчетного усилия обычной вырубки.
Общее усилие при чистовой вырубке:
Основной характеристикой для выбора пресса является усилие вырубки Рр, а не суммарное усилие всех гидроцилиндров пресса
Указание о том, что усилие резания подсчитывается по формулам для обычной вырубки — пробивки ошибочно и приводит к неверным результатам [128].
Силовой режим чистовой вырубки значительно отличается от обычной вырубки. Сопротивление срезу при чистовой вырубке выше, чем при обычной вырубке, вследствие того, что чистовая вырубка происходит при весьма малом зазоре (z≈0,005S), а также в результате вдавливания клинового ребра, изменяющего напряженное состояние в зоне среза. Кроме того, сопротивление срезу зависит от отношения S/d, аналогично обычной вырубке — пробивке.
Автором установлена следующая зависимость сопротивления срезу при чистовой вырубке — пробивке [128]:
Усилие нижнего прижима определяется по формуле:
Значительное усилие требуется для вдавливания клинового ребра. Величина этого усилия (кгс) может быть определена по экспериментально установленной формуле [199]:
Приближенные значения этого усилия, выраженные в кгс/мм, приведены в табл.12.
| Материал | Усилие вдавливания при толщине материала, мм | |||||
| 2 | 4 | 6 | 8 | 10 | 12 | |
| Алюминий А00 | 25 | 40 | 60 | 80 | 100 | 120 |
| Дюралюмин Д16М | 70 | 120 | 140 | 200 | 270 | 820 |
| Малоуглеродистая сталь (10,20) | 100 | 160 | 200 | 280 | 360 | 420 |
| Низколегированная сталь 15Х | 150 | 240 | 300 | 400 | 520 | 640 |
| Нержавеющая сталь (Х18Н10) | 200 | 350 | 400 | 500 | 650 | 840 |
| Высота ребра, мм | 0,6 | 1 | 1,2 | 1,8 | 2,4 | 3 |
Суммарная работа, затрачиваемая при чистовой вырубке, составляет:
Работа резания:
Работа вдавливания клина:
Работа, необходимая для прижима:
Приближенно суммарная работа, затрачиваемая при чистовой вырубке, в 2 — 3,5 раза больше работы, затрачиваемой при обычной вырубке.
Чистовая вырубка с вдавливанием клинового ребра и поперечной осадкой заготовки производится на гидравлических прессах тройного действия или механических прессах с гидравлическими устройствами. Эти прессы имеют небольшое число ходов: пресс усилием 100 тс работает с числом ходов от 18 до 50 ход/мин, пресс 400 тс — от 6 до 22 ход/мин. Скорость резания при чистовой вырубке составляет около 10 — 12 мм/с.
Последовательность работы автоматизированного гидравлического, пресса с нижним ходом и штампа для чистовой вырубки приведена на рис.27 [199]. Вырубной пуансон жестко соединен с неподвижной частью пресса (в разрезе виден паз для планки выталкивания).
На рис.27,а изображено исходное положение при раскрытом штампе, а на рис.27,б показан момент, когда в результате движения нижнего плунжера вверх, нижняя часть штампа поднята в верхнее рабочее положение. Штамп закрыт, клиновое ребро вдавлено в материал.

Рис.27. Последовательность работы гидравлического
пресса с нижним ходом при чистовой вырубке.
Процесс чистовой вырубки показан на рис.27,в. Дальнейший подъем нижнего плунжера отжимает верхний плунжер, находящийся под меньшим давлением, и обнажает кромки вырубного пуансона, врезающегося в металл. При этом пробивной пуансон производит встречное резание. Нижний съемник отжимает внутренний гидравлический шток и опускается вниз.
На рис.27,г изображен конец процесса резания по наружному и внутреннему контуру; на рис.27,д показано раскрытие штампа и выталкивание детали и отхода на лицевую поверхность штампа. Деталь обычно сдувается сжатым воздухом или удаляется иным способом. На рис.27,е показано полное раскрытие штампа и подача полосы.
При чистовой вырубке стальных деталей применяют смазки ВНИИПКнефтехим ХС-147, ХС-163 и ХС-164 по ТУ 38-4022—73 или пасту ВНИИНП-232 по ГОСТ 14068—68, растворенную в инструментальном масле 20 или 45.
Прессы для чистовой вырубки предназначены для работы со скоростью среза от 5 до 20 мм/с. Вследствие этого число ходов и производительность таких прессов сравнительно низкие (20—70 в минуту). При изготовлении чистовой вырубкой тонколистовых деталей (до 2мм) допустима более высокая скорость резания, а следовательно, и более высокая производительность пресса, которую не могут обеспечить прессы для чистовой вырубки.
Для чистовой вырубки тонколистовых деталей с высокой производительностью предназначены штамповочные автоматы типа BH/FS фирмы „Есса“ (Швейцария), оснащенные гидроустройствами для чистовой вырубки, обладающие производительностью от 160 до 600 ход/мии [197]. Эти прессы позволяют применять вместо специальных штампов для чистовой вырубки нормальные комбинированные вырубные штампы (с утолщенной плитой), причем клиновое ребро на прижиме не обязательно. Быстроходные прессы типа BH/FS с успехом применяются в массовом производстве при штамповке точных деталей радиоэлектронной аппаратуры. При выключении гидравлики эти прессы могут работать как обычные высокопроизводительные штамповочные автоматы.
В связи с высокой стоимостью специальных гидравлических прессов тройного действия, применение их в мелкосерийном производстве или при ограниченном количестве деталей, изготовляемых чистовой вырубкой, экономически не эффективно. Это вызвало стремление как у нас, так и за рубежом освоить чистовую вырубку на обычных кривошипных прессах. С этой целью разработаны и экспериментально освоены способы чистовой вырубки на стандартных двустоечных прессах путем оснащения их гидравлическими буферными устройствами для прижима и противодавления.
Для чистовой вырубки небольших деталей возможно использование небольших прессов двойного действия, а также предложены способы штамповки на обычных прессах с применением штампов тройного действия, оснащенных гидроцилиндрами или упругими элементами из резины или полиуретана. Шероховатость поверхности среза несколько ниже и соответствует 6-му классу по ГОСТ 2789—73.
![]() Рис.28. Способ чистовой вырубки ступенчатым пуансоном: а — схема штампа; б — уточненные профили пуансонов |
Фукуи, Кондо и Маеда предложили и экспериментально освоили способ чистовой вырубки ступенчатым пуансоном на прессах простого действия или на гидравлических прессах (рис.28,а). Сущность этого способа заключается в том, что вырубной пуансон имеет уступ высотой меньше глубины вдавливания пуансона, до образования скола (Δh > hП). Для материалов толщиной S = 3/6 мм Δh = 0,5/0,6 мм.
Следовательно, при вдавливании уступа d"В в заготовку скалывающих трещин не возникает. Диаметр уступа меньше диаметра матрицы на зазор 2z = 0,06 / 0,14 мм. Диаметр верхней части пуансона больше диаметра матрицы на 2z' = 0,14 / 0,4 мм.
Таким образом, при рабочем ходе пуансона происходит вырубка пуансоном d'П, большим размера матрицы. Вследствие этого очаг деформации значительно увеличивается, происходит выдавливание металла в радиальном направлении и возникновение напряжений радиального сжатия, предотвращающих образование скалывающих трещин.
Недостатком данного способа является необходимость точной регулировки пресса повышенной жесткости. Другой недостаток — увеличенные заусенцы.
На рис. 28,б показано дальнейшее развитие способа чистовой вырубки ступенчатым пуансоном и уточненные профили пуансона [52].
Для стали рекомендуются следующие величины:
Усилие чистовой вырубки ступенчатым пуансоном небольших деталей (d = 20 мм) определяется по формуле:
В СССР освоен процесс чистовой вырубки и пробивки толстолистовых деталей (10—30 мм) в нагретом состоянии. Обычная пробивка—вырубка деталей такой толщины сопровождается крайне низким качеством поверхности среза, зачастую требующим применения механической обработки контура на металлорежущих станках. Чистовая вырубка на гидравлических прессах тройного действия в данном случае не применима из-за большой толщины материала и больших затрат. Способ чистовой вырубки в нагретом состоянии позволяет получить высокое качество поверхности среза 6—7-го класса шероховатости по всей толщине детали, не требует последующей механической обработки контура и снижает рабочее усилие пресса в 5—6 раз.
Экспериментально установлено что для получения чистого среза по всей толщине детали величина одностороннего зазора должна находиться в пределах 0,5-1% S, а температура нагрева заготовки от 750 до 900° С.
На рис.29,а видно, что глубина внедрения пуансона hП больше высоты hМ выдавленного в матрицу металла, что свидетельствует о вытеснении металла из под пуансона в радиальном направлении. В результате этого в зоне резания возникают напряжения радиального сжатия, исключающие образование скалывающих трещин.

Рис.29. Способ чистовой вырубки с нагревом заготовки.
Кривые на рис.29,б построены по установленному автором соотношению: σСР = (1,3/ 1,5) σСР2 = (7/8) σСР3.
![]() Рис. 30. Зависимость σСР/σТ от относительной толщины при чистовой вырубке нагревом |
На рис.30 представлена диаграмма зависимости отношения σСР/σТ от относительной толщины S/d при чистовой вырубке с нагревом. Величина σТ означает предел текучести стали СтЗ при соответствующей температуре: при 700—750°С σТ ≈ О,18σВ; при 850—900° С σТ ≈ 0,12σВ (σВ предел прочности стали в холодном состоянии). Рабочие части вырубных и пробивных штампов рекомендуется изготовлять из быстрорежущих сталей, обеспечивающих стойкость в несколько тысяч ударов.
При изготовлении рабочих частей штампа для чистовой вырубки с нагревом необходимо учитывать усадку металла при охлаждении, которая для различных марок стали составляет от 1 до 1,2% на рабочий размер. Одновременно с чистовой вырубкой наружного контура отверстие на отходе получается такой же степени шероховатости поверхности (6—7-й класс).
Другим способом чистовой вырубки является реверсивная вырубка (со встречной надрезкой), приведенная на рис.31.
Процесс реверсивной чистовой вырубки происходит следующим образом. Вначале (рис.31,а) верхние рабочие части штампа опускаются вниз и зажимают заготовку. Затем (рис.31,6) нижний пуансон-матрица движется снизу вверх и врезается в заготовку на 20—25% толщины материала. После этого (рис.31,в) верхний пуансон-матрица движется сверху вниз на величину, равную 1,55, и производит полный срез по наружному и внутреннему контуру. Остальные части штампа остаются неподвижными. Движение частей штампа показано на рис.31 стрелками. При этом способе чистовой вырубки-пробивки шероховатость поверхности среза соответствует 8—9-му классу по ГОСТу. Кроме того, деталь получается без заусенцев и абсолютно плоской.

Рис.31. Реверсивный способ чистовой вырубки и штампы для нее.
Для данного способа чистовой вырубки созданы специальные гидравлические прессы тройного действия. На рис.31,г изображен штамп для реверсивной чистовой вырубки—пробивки, применяемый на указанных прессах тройного действия. Как видно из рис.31,а, верхняя и нижняя части штампа полностью симметричны и имеют одинаковые детали.
Известны и другие, более примитивные способы чистовой вырубки и пробивки. К ним относится способ чистовой вырубки матрицей с завалом и закруглением режущих кромок (по высоте 0,8 + 1,0S, по поверхности 0,1 + 0,2S). В данном случае у заваленных кромок матрицы нет резко концентрированных деформаций сдвига и не происходит образование скалывающих трещин. Металл плавно выдавливается в шейку матрицы. При этом волокна (зерна) металла сильно удлиняются, втягиваются в матрицу, расплющиваются в зазоре и образуют полированную поверхность среза. Отход же получается с затянутым острым заусенцем.
Этот способ применяется как в случае вырубки из полосы, так и при обрезке на предварительно вырубленной с небольшими припусками заготовки, например при чистовой вырубке-обрезке небольших шестерен малого модуля (с одновременной калибровкой по толщине и чеканкой кромок зубцов). Достижимая шероховатость поверхности среза соответствует 8-му классу. Достижимая точность штампованных деталей — 4—3-й класс точности. Необходимо учитывать, что деталь после выхода из матрицы увеличивается в размерах на 0,02—0,05 мм. Этот способ применим как для цветных металлов, так и для мягкой стали.
Зазор между пуансоном и матрицей делается не более 0,01 мм.
Пуансоном с заваленными режущими кромками производится чистовая пробивка отверстий d > 3S как в стали, так и в цветных металлах.
Для относительно более толстых материалов (d < 3S) применяются пуансоны с конусной заточкой под углом 120°. Способ действия и характер деформаций аналогичны процессу вырубки матрицей с заваленными кромками. В данном случае волокна (зерна) металла также удлиняются и втягиваются в матрицу, расплющиваются и образуют блестящую поверхность среза. Выпадающий из матрицы отход имеет затянутые острые заусенцы.
Шероховатость поверхности достигает 8-го класса.
Известен другой способ чистовой вырубки — вырубка пуансоном, перекрывающим матричное отверстие. Он применяется главным образом для деталей из мягких цветных металлов и сплавов небольшой толщины. В данном случае вместо обычной вырубки происходит выдавливание пластичного металла в отверстие матрицы по способу так называемого прямого выдавливания, причем скалывания не возникает. Лишь в конце хода, когда происходит сжатие и наклеп металла между режущими кромками, возникают скалывающие трещины.
Обычно диаметр (размер) пуансона делается больше диаметра (размера) матрицы на (0,1/0,2)S. При закругленной форме детали припуск пуансона делается равномерным, в случае же детали с углами и выступами припуск у наружных углов принимается в два раза больше, т.е. от 0,2 до 0,4S, а у внутренних углов — в два раза меньше, т.е. от 0,05 до 0,1S.
Для получения большей шероховатости поверхности среза на режущих кромках матрицы делается небольшая фаска.
В нижнем рабочем положении пуансон не должен доходить до поверхности матрицы на 0,1—0,2 мм. Деталь после выхода из штампа увеличивается в размерах на 0,02—0,05 мм. Шероховатость поверхности среза доходит до 8-го класса по ГОСТу.
Данный способ вырубки применяется как при вырезке из полосы, так и в случае вырезки из предварительно вырубленной заготовки с соответствующими припусками по контуру. Это особенно целесообразно при чистовой вырубке деталей сложного контура (шестеренки, храповички и т.п.), так как при этом увеличивается стойкость зубчатого пуансона.
Хорошо зарекомендовал себя способ чистовой пробивки весьма малых отверстий (d < S). Обычно предельной величиной пробиваемого отверстия принято считать d = S, а в случае применения пуансона с конусной заточкой торца d = 0,8S. Однако это распространяется на случаи обыкновенной пробивки пуансоном, имеющим свободно выступающий рабочий конец.
Недостаточная прочность и устойчивость свободного конца пуансона ограничивают возможность пробивки отверстий диаметром меньше толщины материала. Поэтому отверстия малых диаметров обычно изготовлялись сверлением.
На отечественных заводах разработан и внедрен оригинальный способ пробивки отверстий весьма малого диаметра (d = 0,3S), основанный на применении особой конструкции крепления и способа направления пуансона с предварительным сильным прижимом металла вокруг пробиваемого отверстия.

Рис.32. Способы телескопического непрерывного направления пуансонов.
На рис.32, а изображена конструкция пуансона Э. Олиня [89], имеющего непрерывное по длине направление в процессе рабочего хода, за исключением конца пуансона, врезавшегося в металл. В верхней части пуансон имеет постоянное направление между двумя неподвижными сухарями. В нижней части пуансон направляется по отверстию подвижной прижимной втулки, имеющей фрезерованные пазы для неподвижных сухарей. Прижим материала к матрице осуществляется сильными пружинами. При дальнейшем ходе пресса пуансон выступает из направляющей втулки и пробивает отверстие малого диаметра.
На рис. 32, б показана другая конструкция направления пробивного пуансона между тремя калеными штифтами взамен телескопической втулки.
Последовательность процесса пробивки (1—5) приведена на рис.33. При малой величине зазора (1—1,5% S) отверстие получается чистым, а отход — с двойным или тройным сколом. Характерно, что при значительном внедрении пуансона выдавливание металла в матрицу весьма невелико, что свидетельствует о том, что металл из-под пуансона выдавливается в радиальном направлении.

Рис.33. Последовательность процесса пробивки малых отверстий.
Аналогичным образом осуществляется постоянное телескопическое направление узких шлицевых пуансонов и пуансонов некруглой формы.
Штампами такой конструкции пробивают отверстия диаметром от 0,4 мм в стали, латуни, алюминии, текстолите и гетинаксе толщиной S = (2/3) d, а также прорезают узкие длинные шлицы и некруглые отверстия при высоком качестве поверхности среза. При этом способе происходит не срез, а выдавливание металла в отверстие матрицы. В результате сильного прижима заготовки и вытеснения металла в радиальном направлении возникает объемное напряженное состояние сжатия исключающее образование скалывающих трещин.
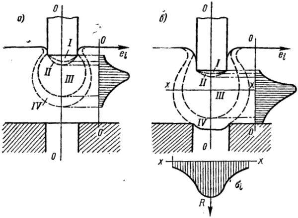
На рис. 34 приведена экспериментально установленная схема развития очага деформации при вдавливании пуансона в толстую заготовку. В начале внедрения пуансона (рис.34,а) возникают полусферические области деформированного металла; I — заторможенная область; II — слабо деформированная область; III — областьнаибольшей деформации; IV — область слабо деформированного металла.

Рис.34. Схема развития очага деформации при вдавливании
пуансона в толстую заготовку (по Д.П. Кузнецову и А.В. Лясникову).
Справа приведена примерная кривая изменения истинной деформации ei. Деформации не достигают поверхности матрицы. При заглублении пуансона примерно на величину диаметра (рис,34,б) очаг деформации расширяется и опускается вниз. На нижней поверхности заготовки остается след от матричного отверстия. Снизу приведена эпюра распределения радиальных напряжений по сечению х-х. Лишь в конце рабочего хода при толщине перемычки порядка 0,6d происходит процесс скалывания, как это видно из рис.33.
В данное время освоена пробивка малых отверстий в материалах толщиной от 1 до 20 мм
Пуансоны, изготовленные из стали У8А, показывают стойкость от 10 до 15 тыс. деталей, а из легированной стали — до 50 тыс. деталей. При этом необходима высокая точность изготовления и пригонки рабочих частей штампа, полное отсутствие перекосов и надежное направление пуансона.
В последнее время разработаны и освоены новые способы точной чистовой резки пруткового материала сдвигом с дифференцированным зажимом, создающим высокое усилие зажима заготовки.
При резке сдвигом качество поверхности среза и точность заготовок получаются значительно более высокими, чем при обычном способе резки. Этому способствует возникновение в процессе резки сдвигом осевых распорных усилий, достигающих 20% усилия реза. Так как надежный зажим заготовки исключает возможность осевого перемещения, то в плоскости реза создаются осевые сжимающие напряжения, способствующие пластическому течению металла и получению чистого среза.
Способ чистовой резки сдвигом дисковых заготовок из прутков алюминиевых и других цветных сплавов разработан в Институте технологии машиностроения Венгрии1.
1 Патент № 152686 на имя Вереш Ференца и др.
Этот способ обеспечивает безотходное использование пруткового материала в интервале 6—60 мм и дает высококачественные заготовки с поверхностью, соответствующей 6—8-му классу шероховатости. Сущность этого способа заключается в предварительном создании напряжений осевого сжатия в прутковом материале, благодаря чему при беззазорном срезе в зоне резания возникает объемное напряженное состояние сжатия, способствующее чисто пластическому срезу, без скола и трещин.

Рис.35. Схема чистовой отрезки сдвигом (Венгерский патент):
а - схема установки; б — образцы профилей.
На рис.35,а представлена схема чистовой отрезки, приведенная в патенте. Толщина отрезаемой заготовки соответствует толщине отрезного ножа. Отрезанная заготовка в нижнем рабочем положении выталкивается выталкивателем 3. Патентованный способ зажима прутка 1 между вкладышами 2 перед отрезкой создает необходимое осевое давление. Экспериментально освоена чистовая отрезка заготовок размерами h = 0,2d.
Как показали исследования, осевые сжимающие напряжения достигают значений (2/3)σТ.
Способ чистовой отрезки одинаково применим для резки прутков круглого, квадратного, прямоугольного или профильного сечения (рис.35,б). Устройство для чистовой отрезки не имеет жесткой связи с ползуном пресса и может быть установлено на любом кривошипном прессе соответствующей мощности.










